Riempire il carrello BIM dal catalogo prodotti

Uponor Uni Pipe PLUS bianco isolato S6 WLS 035

Uponor Uni Pipe PLUS bianco isolato S6 WLS 035

Dettagli articolo

Uponor Uni Pipe PLUS bianco isolato S6 WLS 035 16x2,0 blue 75m
Uponor Uni Pipe PLUS bianco isolato S6 WLS 035 20x2,25 blue 75m
Uponor Uni Pipe PLUS bianco isolato S6 WLS 035 25x2,5 blue 50m

Documenti

Rapporto di installazione
116 B1120119

Rapporto di installazione MLC leak test report TW water (1120119)

Rapporto di installazione
127 B1120120

Rapporto di installazione MLC flushing protocol TW water (1120120)

Rapporto di installazione
110 B1120118

Rapporto di installazione MLC leak test report TW air-gas (1120118)

Informazioni

Specifiche

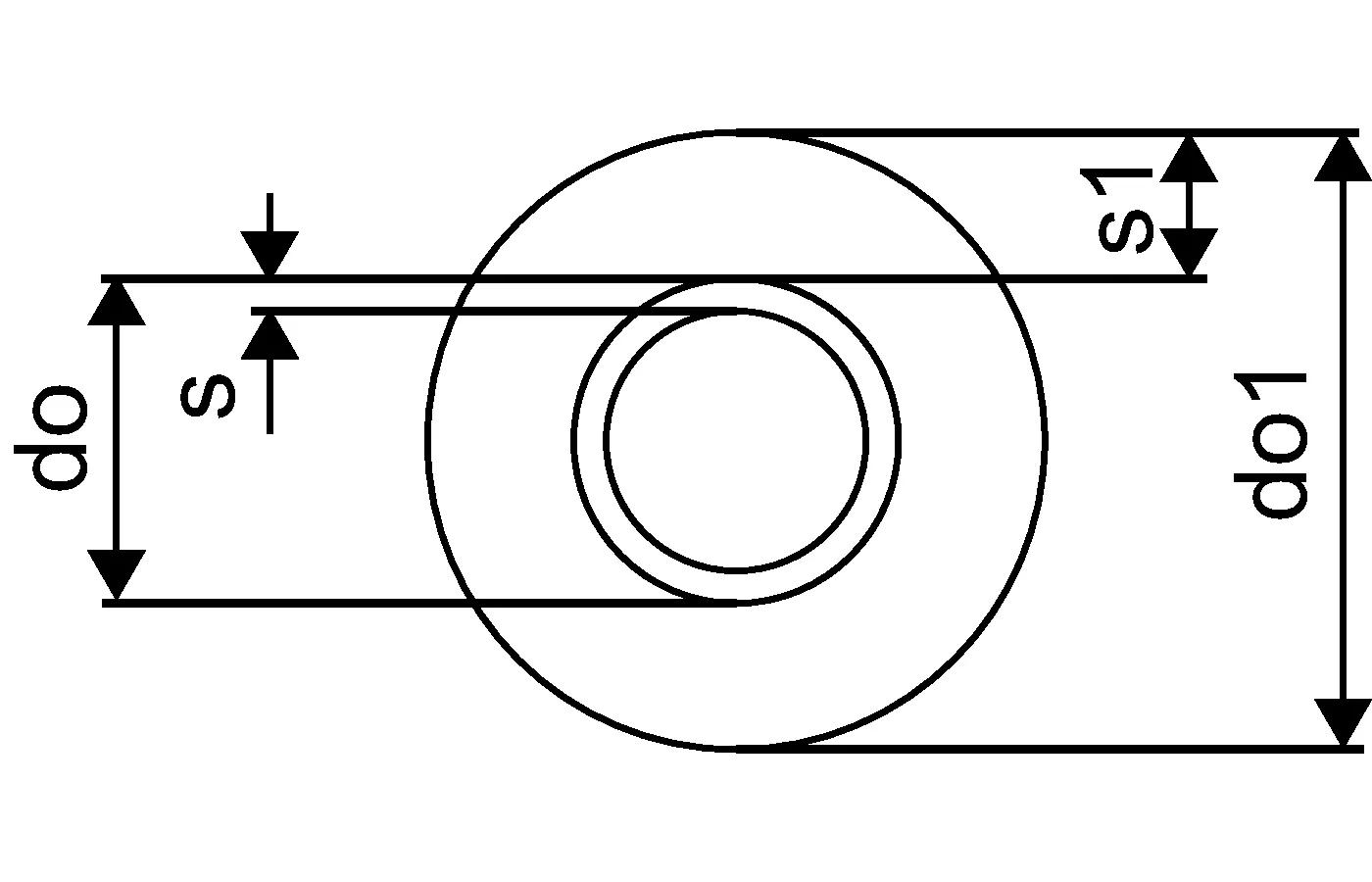
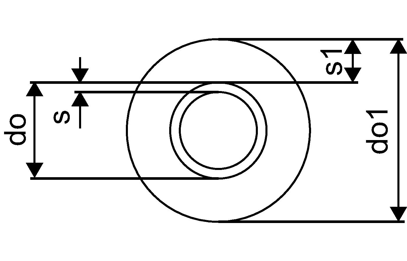
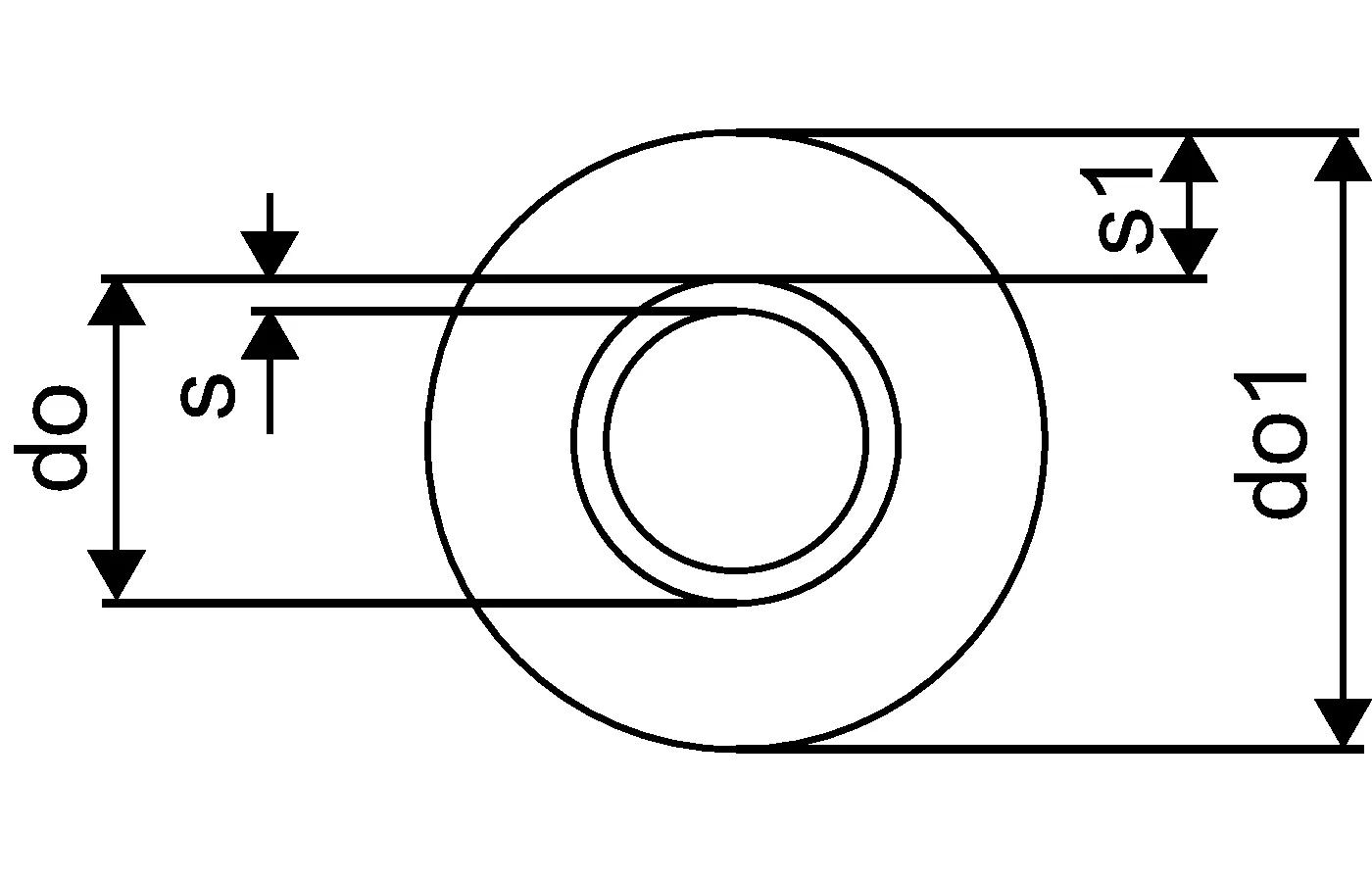
Uponor Uni Pipe PLUS
- Sauerstoffdiffusionsdichtes 5-Schicht-Verbundrohr (PE-RT - Haftvermittler - Aluminiumschicht -
Haftvermittler - PE-RT) mit SAC- und OWC-Technologie hergestellt
- DIN EN 13501-1 Brandklassifizierung: Klasse E
- Rohrenden mit abnehmbarem Hygieneverschluss nach DIN EN 806

Uponor MLC
- Sauerstoffdiffusionsdichtes Mehrschichtverbundrohr (PE-RT - Haftvermittler - Aluminiumschicht -
Haftvermittler- PE-RT)
- DIN EN 13501-1 Brandklassifizierung: Klasse E
- Rohrenden mit abnehmbarem Hygieneverschluss nach DIN EN 806

Application

- Einsatzbereich für Trinkwasser: Max. zulässige Dauerbetriebstemperatur von 0 °C bis 70 °C bei max.
Dauerbetriebsdruck von 10 bar, kurzzeitige Störfalltemperatur von 95 °C für max. 100 Std. Betriebsdauer.
- Einsatzbereich für Heizung: Max. zulässige Dauerbetriebstemperatur von 80 °C bei max. Dauerbetriebsdruck
von 10 bar, kurzzeitige Störfalltemperatur von 100 °C für max. 100 Stunden Betriebsdauer.

Certification

- DVGW
- ÖVGW
- KIWA/KOMO

Disegni del prodotto

1063556_ZMD
1063556
157 B
1063557_ZMD
1063557
157 B
1063558_ZMD
1063558
157 B
1063556_REN
1063556
174 B
1063556_REN
1063556
61 B
1063557_REN
1063557
61 B
1063558_REN
1063558
61 B
1063556_LAB
1063556
42 B
1063557_LAB
1063557
42 B
1063558_LAB
1063558
42 B