Riempire il carrello BIM dal catalogo prodotti

Uponor S-Press PLUS Gomito interm. 45

- ottone DR stagnato e bussola in acciaio inox
- indicatore unico di pressata
- installazione rapida in 3 fasi - taglio tubazione, inserimento raccordo, pressatura (nessuna sbavatura, nessuna calibratura)
- codice QR innovativo per un accesso digitale immediato
- conformi al Decreto Ministeriale n. 174 del 6 aprile 2004

Uponor S-Press PLUS Gomito interm. 45

Dettagli articolo

Uponor S-Press PLUS Gomito interm. 45 25-25
Uponor S-Press PLUS Gomito interm. 45 32-32

Documenti

Rapporto di installazione
116 B1120119

Rapporto di installazione MLC leak test report TW water (1120119)

Rapporto di installazione
127 B1120120

Rapporto di installazione MLC flushing protocol TW water (1120120)

Rapporto di installazione
110 B1120118

Rapporto di installazione MLC leak test report TW air-gas (1120118)

Informazioni

Specifiche

- Fixierte Presshülse aus Edelstahl mit Sichtfenster
- Sichere Pressbackenführung
- Bewährte Prüfsicherheit „unverpresst undicht"
- 100 % kompatibel zu bestehenden Uponor Komponenten
- Außen- und Innengewinde nach DIN EN 10226-1

Application

- Einsatzbereich für Trinkwasser: Max. zulässige Dauerbetriebstemperatur von 0 °C bis 70 °C bei max. Dauerbetriebsdruck
von 10 bar, kurzzeitige Störfalltemperatur von 95 °C für max. 100 Std. Betriebsdauer.
- Einsatzbereich für Heizung: Max. zulässige Dauerbetriebstemperatur von 80 °C bei max. Dauerbetriebsdruck von 10 bar,
kurzzeitige Störfalltemperatur von 100 °C für max. 100 Stunden Betriebsdauer.

Certification

- DVGW
- ÖVGW
- KIWA / KOMO

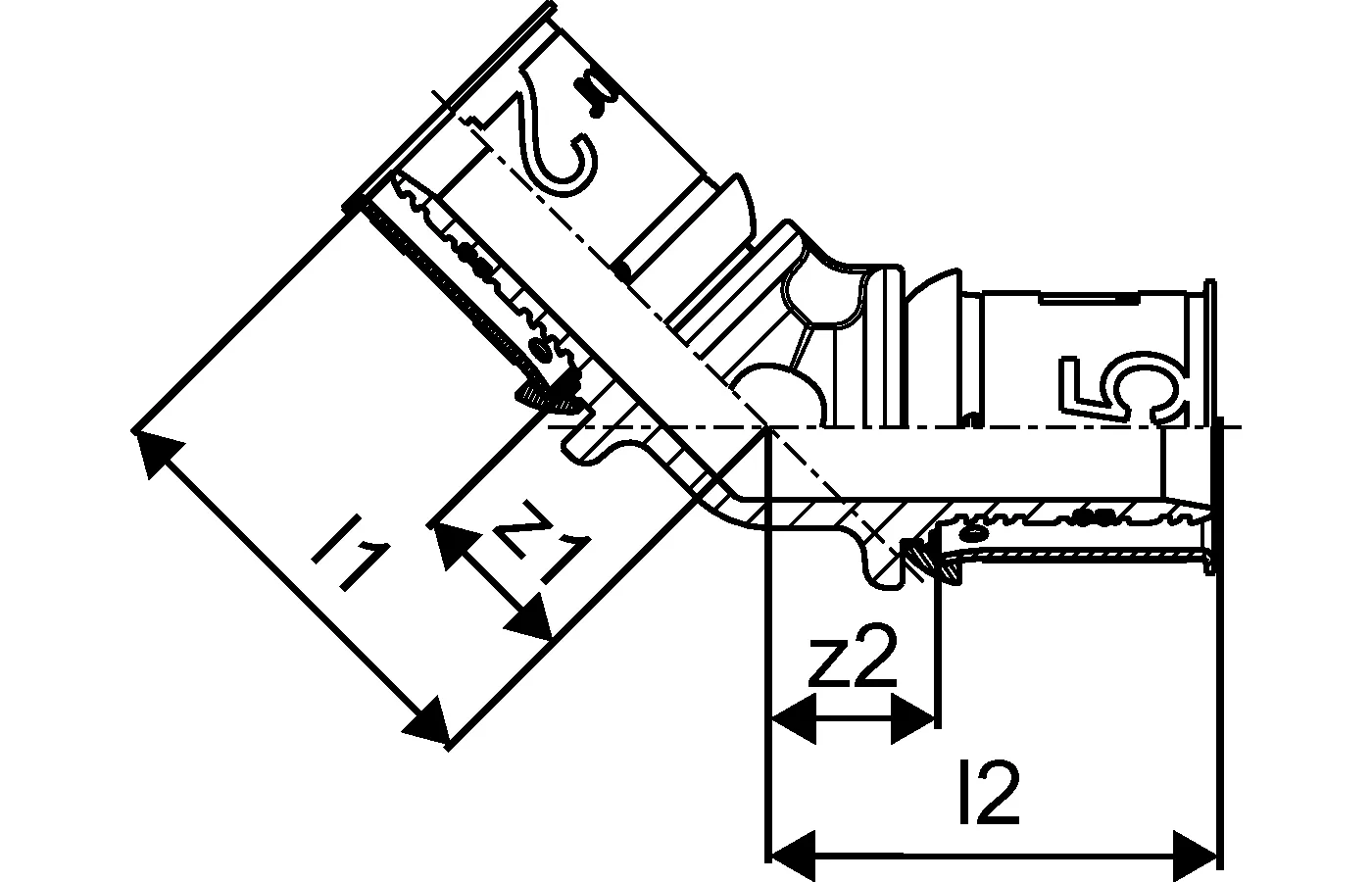
Disegni del prodotto

1070545_ZMD
1070545
259 B
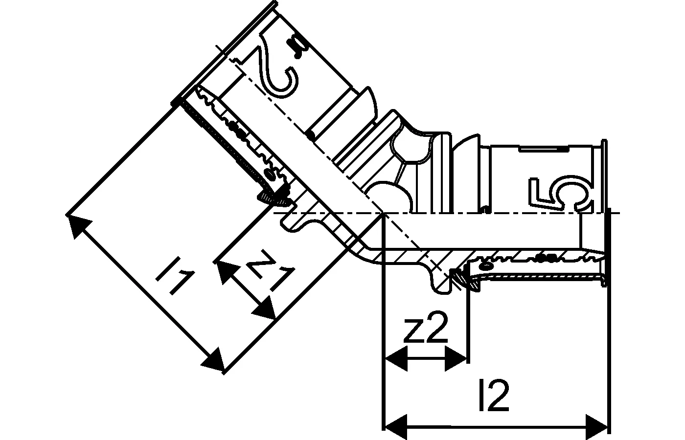
1070546_ZMD
1070546
259 B
1070545_LAB
1070545
86 B
1070546_LAB
1070546
86 B
1070545_REN
1070545
312 B
1070545_REN
1070545
110 B
1070546_REN
1070546
44 B