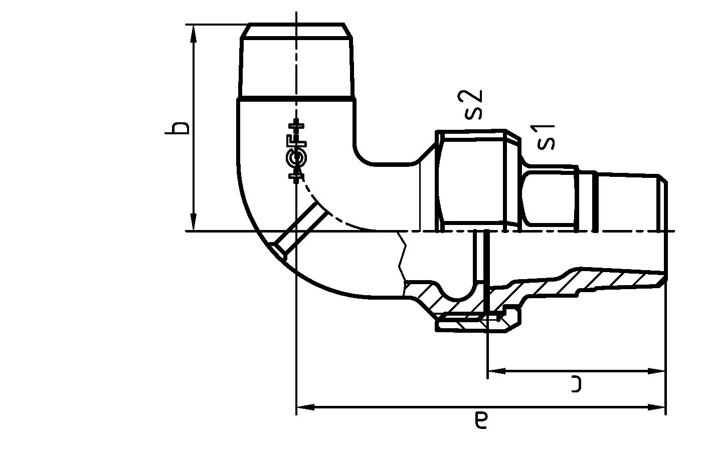
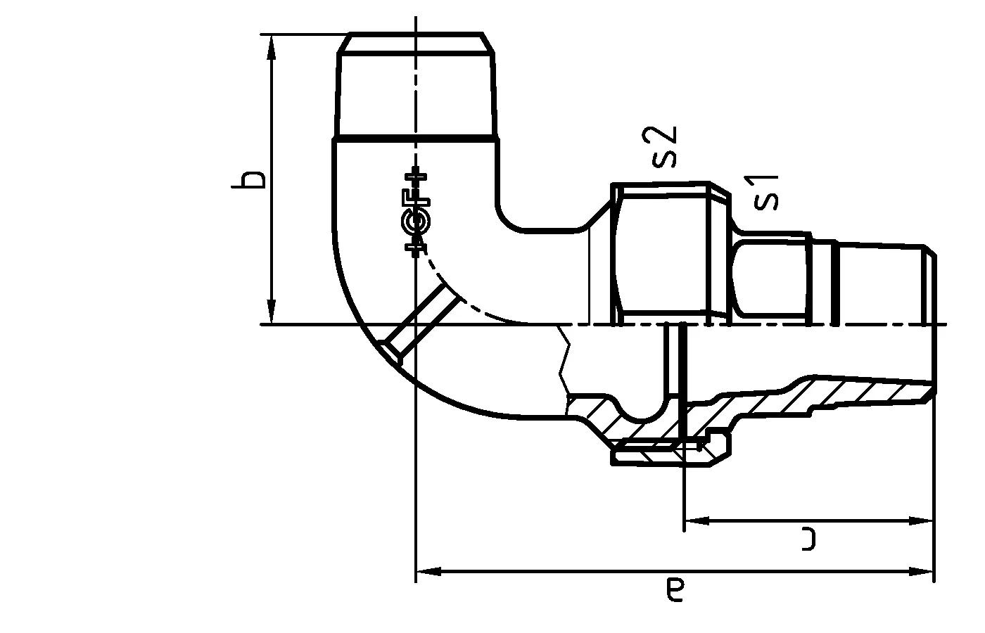
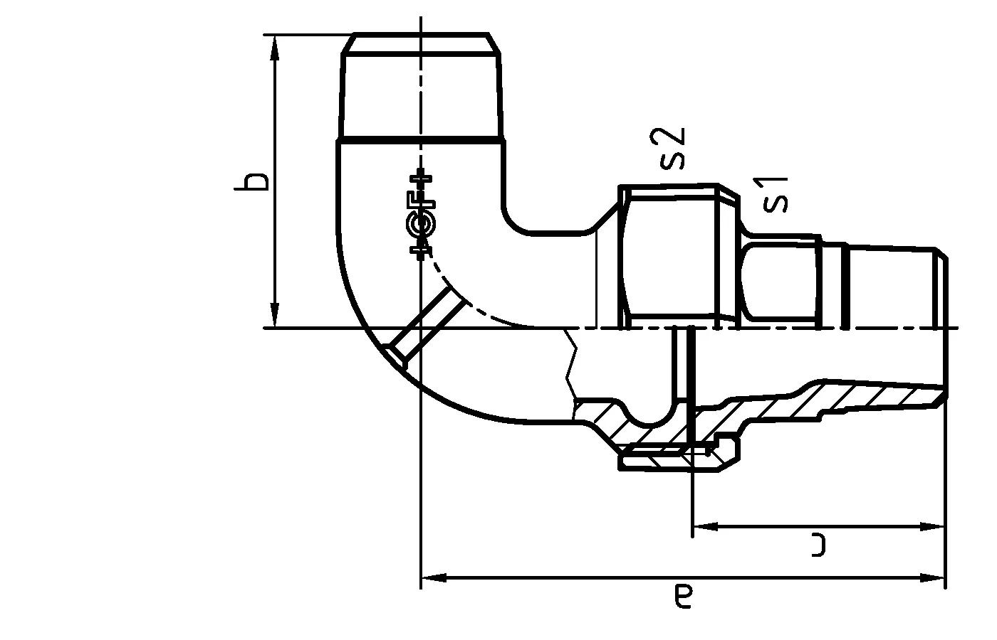
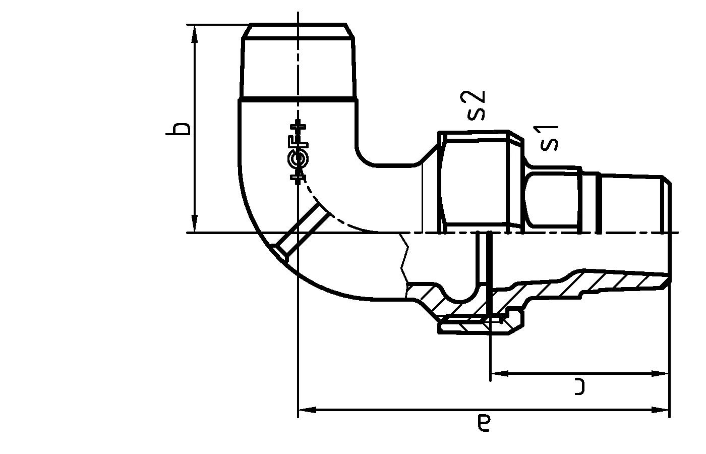
GF Malleable Fittings gomito raccordo sede piana 101 101
Fornito senza guarnizioni di tenuta; a include lo spessore della guarnizione come indicato nella tabella "Dimensioni guarnizioni di tenuta".374 G ... si riferisce alla misura della filettatura G in conformità alla norma ISO 228 del dado di raccordo 374.
Disegni del prodotto
Z-drawing
Altri
145 B
Download document145 B
Download document145 B
Download document145 B
Download document145 B
Download document145 B
Download document.jpg?sitename=Global&ext=.jpg&height=440)
.jpg?sitename=Global&ext=.jpg&height=158)