Remplir le panier BIM à partir du catalogue de produits

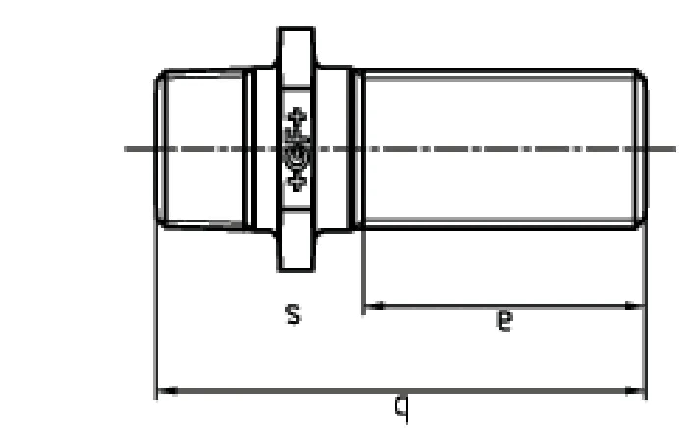
GF Malleable Fittings longscrew hexagonal nipple 534 1/2 G

GF Malleable Fittings longscrew hexagonal nipple 534 1/2 G
n° de partie1154769

Détails et variantes du produit

Dimensions

Article Poids unitaire0,113
Article Unité Longueur37
Item_UOMSt.
Article Unité Largeur77
Article Unité Hauteur32

Measurements

Épaisseur de paroi_s32

Packaging

FieldPL1PL4
Emballage GTIN07611205256197 06414900239127
Hauteur d'emballage100 508
Largeur d'emballage190 800
Longueur de l'emballage260 1200
Poids de l'emballage4,64 345,44
Quantité d'emballage40 2880
Type d'emballageBase_Box Pallet
Volume d'emballage0,00494 0,48768

Product code

Item no EAN7611205456191
Item no GTIN07611205456191
Item no RSK1316352
Item no VVS004534404
Item no GF770534204