Füllen Sie den BIM Warenkorb aus dem Produktkatalog

GF JRG Sanipex Armaturenplatte GIS d16

GF JRG Sanipex Armaturenplatte GIS d16
Teil Nr.1158671

Details

Dimension

Breite der Artikeleinheit120
Höhe der Artikeleinheit100
Gewicht der Artikeleinheit1,1
Item_UOMSt.
Länge der Artikeleinheit260

Measurements

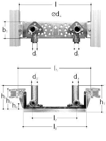
Z-Messung h1111
Inner_diameter_di16
Z-Messung h298
Länge (l2)153
Länge (l1)223
Z-Messung h371

Packaging

FieldPL1
Verpackung GTIN06414900067430
Verpackungsbreite120
Verpackungsgewicht1,2
Verpackungshöhe100
Verpackungslänge270
Verpackungsmenge1
VerpackungstypBase_Box
Verpackungsvolumen0,00324

Product code

Item no GTIN07613263025722
Item no EAN7613263025722
Item no GF355566400

Dokumente

Zulassungsbescheinigung
46 B1162954

GF JRG CERT Sanipex SYS MECH SVGW 8611-1923 CH DE